/media/crossbase/fot_pro_per_1702g__sall__ainfs__v1.jpg_lj_366x382.jpg
/media/crossbase/zei_pro_sch_1702g__sall__ainfs__v1.jpg_lj_366x382.jpg
/media/crossbase/fot_pro_per_1702g__sall__ainfs__v1.jpg_lj_366x382.jpg
/media/crossbase/zei_pro_sch_1702g__sall__ainfs__v1.jpg_lj_366x382.jpg

ECO Freistrom-Absperrventil, mit Entleerstopfen, AG

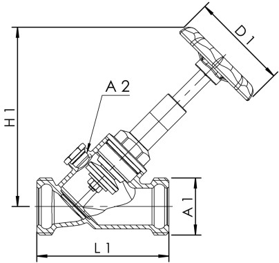
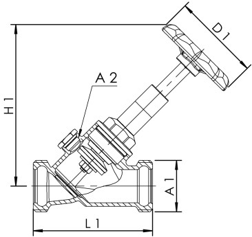
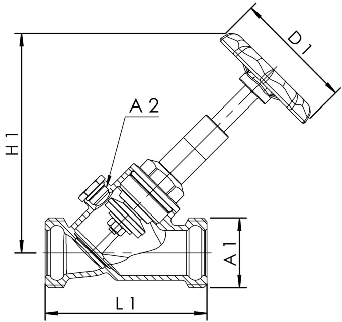
Figur 170 2G

  • mediumberührte Metallteile aus entzinkungsfreiem und korrosionsbeständigem Rotguss, beständig gegen aggressives Wasser
  • O-Ring-Spindelabdichtung
  • EPDM-Sitzdichtung

Produktmerkmale

  • mediumberührte Metallteile aus entzinkungsfreiem und korrosionsbeständigem Rotguss, beständig gegen aggressives Wasser
  • O-Ring-Spindelabdichtung
  • EPDM-Sitzdichtung
  • Kegel aus Rotguss
  • Außengewinde für flachdichtende Verschraubungen
  • mit Entleerstopfen
  • mit Möglichkeit zur Aufnahme für Temperaturfühler Pt1000 oder Thermometer mittels optional erhältlicher Tauchhülse
  • mit grünem Handrad
  • totraumfrei

Normen & Zulassungen

  • DVGW-Zulassung
  • ÖVGW-Zulassung
  • SVGW-Zulassung
  • WRAS-Zulassung
  • VA-Zulassung
  • nach UBA KTW BWGL
  • nach UBA BWGL Metalle
  • bis DN 32 Schallschutzzulassung nach DIN EN ISO 3822 Klasse 1
  • DIN EN 1213
  • ÜA-Reg.-Nr. R-15.2.3-21-17048, WIEN-ZERT

Technische Daten

  • Druckstufe PN 16
  • max. Betriebstemperatur 110 °C
/media/crossbase/zei_pro_sch_1702g__sall__ainfs__v1.jpg_lj_404xy.jpg
Bestellnr. DN A1 A2 D1
(mm)
H1
(mm)
L1
(mm)
Zeta kvs
(m³/h)
kg
1702G01500 15 G 3/4 G 1/4 60 98 70 1,3 5,9 0,31
1702G02000 20 G 1 G 1/4 60 104 78,5 1,6 12,5 0,45
1702G02500 25 G 1 1/4 G 1/4 70 132 97 1,4 21,3 0,77
1702G03200 32 G 1 1/2 G 1/4 70 161 110 1,1 38,7 1,11
1702G04000 40 G 1 3/4 G 1/4 70 164 130 1,5 47,2 1,53
1702G05000 50 G 2 3/8 G 1/4 90 213 145 1,4 84,8 2,26

Downloads

Datenblatt
Dateityp
Produktdatenblatt
pdf
Prospekte
Dateityp
Gebäudetechnik Armaturen und Systeme
pdf (15,76 MB)
Prospekt Absperrventile
pdf (21,21 MB)
Technische Informationen
Dateityp
Produktdaten nach VDI 3805, Blatt 17
zip (0,1 MB)
Ersatzteilhandbuch 2024
pdf (4,88 MB)