/media/crossbase/fot_pro_per_0410g_sall_ainfs_v1_lj_366x382.jpg
/media/crossbase/zei_pro_sch_0410g_sall_ainfs_v1_lj_366x382.jpg
/media/crossbase/fot_pro_per_0410g_sall_ainfs_v1_lj_366x382.jpg
/media/crossbase/zei_pro_sch_0410g_sall_ainfs_v1_lj_366x382.jpg

NIRO MULTI-THERM automatisches Zirkulations-Regulierventil, 50 °C bis 65 °C, AG

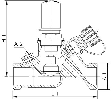
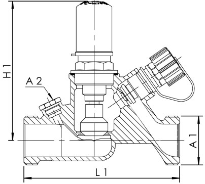
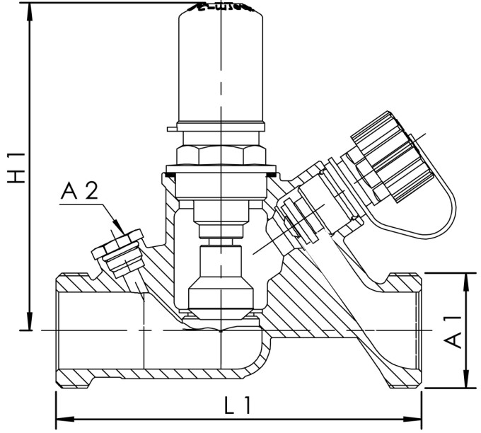
Figur 041 0G

  • automatisches Regulierventil für den hydraulischen Abgleich von Steig- und Stockwerksverteilleitungen
  • zum thermischen selbstregelnden, hydraulischen Abgleich, mit automatischer Regelbereichsumstellung für die thermische Desinfektion
  • mediumberührte Metallteile aus Edelstahl
  • Absperreinheit mit Thermometer- und Fühleraufnahme

Produktmerkmale

  • automatisches Regulierventil für den hydraulischen Abgleich von Steig- und Stockwerksverteilleitungen
  • zum thermischen selbstregelnden, hydraulischen Abgleich, mit automatischer Regelbereichsumstellung für die thermische Desinfektion
  • mediumberührte Metallteile aus Edelstahl
  • Absperreinheit mit Thermometer- und Fühleraufnahme
  • EPDM-Sitzdichtung
  • thermostatische Reguliereinheit
  • Außengewinde für flachdichtende Verschraubungen
  • mit Entleerstopfen
  • totraumfrei
  • mit Absperr-, Regulier- und Voreinstellfunktion

Normen & Zulassungen

  • DVGW-Zulassung
  • ÖVGW-Zulassung
  • SVGW-Zulassung
  • nach UBA KTW BWGL
  • für Anlagen nach DVGW-Arbeitsblatt W 551/W 553/DIN 1988-300
  • nach UBA BWGL Metalle
  • ÜA-Reg.-Nr. R-15.2.3-21-17049, WIEN-ZERT

Technische Daten

  • Regelbereich 50 °C - 65 °C
  • Druckstufe PN 16
  • max. Betriebstemperatur 90 °C
/media/crossbase/zei_pro_sch_0410g_sall_ainfs_v1_lj_404xy.jpg
Bestellnr. DN A1 A2 H1
(mm)
L1
(mm)
kvs
(m³/h)
Gewicht
(kg)
0410G01500 15 G 3/4 G 1/4 103 110 1,3 0,61

CAD Modelle & Kennlinien

Bestellnr. DN CAD Modell Kennlinie
0410G01500 15 3D Daten anzeigen Kennlinie anzeigen

Downloads

Datenblatt
Dateityp
Produktdatenblatt
pdf
Anleitung
Dateityp
Einbau- und Bedienungsanleitung MULTI-THERM
pdf (4,06 MB)
Prospekte
Dateityp
Gebäudetechnik Armaturen und Systeme
pdf (15,76 MB)
Prospekt Regulierarmaturen
pdf (1,93 MB)
Technische Informationen
Dateityp
Produktdaten nach VDI 3805, Blatt 17
zip (0,1 MB)
Ersatzteilhandbuch 2024
pdf (4,88 MB)
Durchflussdiagramme NIRO MULTI-THERM automatisches Zirkulations-Regulierventil
pdf (0,07 MB)