/media/crossbase/fot_pro_per_58500_sall_ainfs_v1_lj_366x382.jpg
/media/crossbase/zei_pro_sch_58500_sall_ainfs_v1_lj_366x382.jpg
/media/crossbase/fot_pro_per_58500_sall_ainfs_v1_lj_366x382.jpg
/media/crossbase/zei_pro_sch_58500_sall_ainfs_v1_lj_366x382.jpg

UP quarter turn stop valve for flush-mounted installation, FPT

figure 585 00

  • wetted metal parts made from dezincification-free and corrosion-resistant gunmetal, resistant against aggressive water
  • low pressure loss
  • maintenance-free EPDM spindle seal

Product Features

  • wetted metal parts made from dezincification-free and corrosion-resistant gunmetal, resistant against aggressive water
  • low pressure loss
  • maintenance-free EPDM spindle seal
  • plastic shaft can be shortened
  • can be extended with optional extension kit
  • female pipe thread
  • removable inner top part TOP-ENTRY, with EPDM gasket body and gunmetal ball
  • free from dead spots
  • for use in combination with DN 25 handle set

Standards & approvals

  • DVGW approval
  • WRAS approval
  • according to DVGW worksheet W 570
  • according to accepted materials list from German environmental agency
  • soundproofing certification according to DIN EN ISO 3822 Class 1
  • DIN EN 1213 / DIN EN 13828
  • ÜA-Reg.-Nr. R-15.2.3-21-17048, WIEN-ZERT

Technical data

  • max. installation depth 110 mm
  • pressure rating PN 16
  • max. operating temperature 90 °C
/media/crossbase/zei_pro_sch_58500_sall_ainfs_v1_lj_404xy.jpg
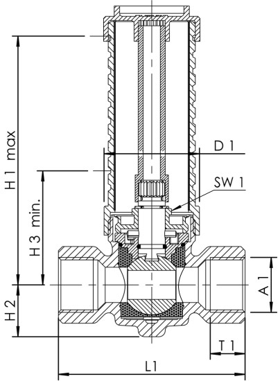
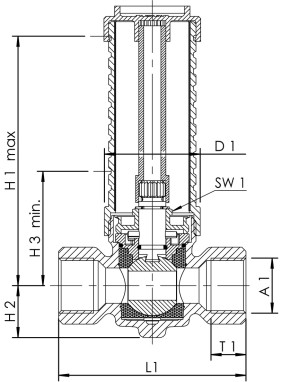
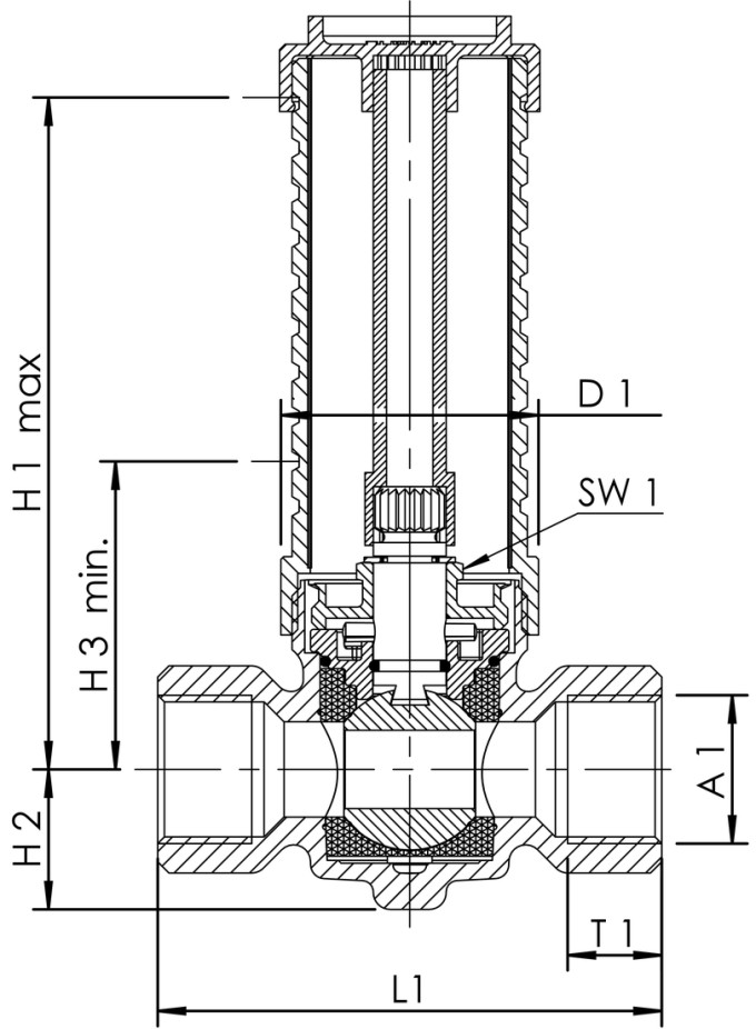
Part no. DN A1 D1
(mm)
H1
(mm)
H2
(mm)
H3
(mm)
L1
(mm)
SW1
(mm)
T1
(mm)
Weight
(kg)
5850001500 15 Rp 1/2 46 120 25 55 84 17 14.5 0.54
5850002000 20 Rp 3/4 46 120 25 55 90 17 16.5 0.62
5850002500 25 Rp 1 46 130 28 70 99 17 18 0.93

CAD models & characteristic curves

Part no. DN CAD model Characteristic curve
5850001500 15 Show 3D data Show characteristic curve
5850002000 20 Show 3D data Show characteristic curve
5850002500 25 Show 3D data Show characteristic curve

Downloads

Data sheet
File type
Product data sheet
pdf
Instructions
File type
Installation and operating instructions UP-VAV Full-flow shut-off valves as concealed valves
pdf (0.9 MB)
Brochures
File type
Building technology valves and systems
pdf (20.57 MB)