/media/crossbase/fot_pro_per_86405_sall_ainfs_v1_lj_366x382.jpg
/media/crossbase/zei_pro_sch_86407_sall_ainfs_v1_lj_366x382.jpg
/media/crossbase/fot_pro_per_86405_sall_ainfs_v1_lj_366x382.jpg
/media/crossbase/zei_pro_sch_86407_sall_ainfs_v1_lj_366x382.jpg

Watermeterblok, Techem

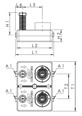
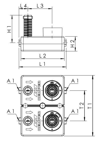
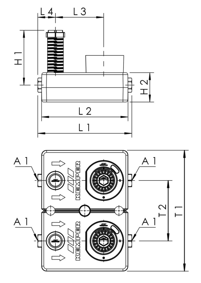
figuur 864 05

  • met het medium in contact komende metalen delen van ontzinkingsvrij en corrosiebestendig brons, bestand tegen agressief water
  • met fabrikantspecifieke watermeterbehuizingen fabricaat Techem
  • bestaand uit twee afsluiters voor montage achter de wand en twee watermeterbehuizingen met afdek- en overloopkap

Productkenmerken

  • met het medium in contact komende metalen delen van ontzinkingsvrij en corrosiebestendig brons, bestand tegen agressief water
  • met fabrikantspecifieke watermeterbehuizingen fabricaat Techem
  • bestaand uit twee afsluiters voor montage achter de wand en twee watermeterbehuizingen met afdek- en overloopkap
  • inbouwdiepte variabel binnen de inbouwmaten van de watermeter
  • Deelbaar in twee monoblokken
  • voor inbouw van een koud- en warmwatermeetcapsule
  • uit twee uit-één-stuk gegoten watermeterleidingen
  • onderhoudsvrije EPDM-spindelafdichting
  • binnendraad
  • vrij van dode ruimtes
  • Incl. bevestigingshoek voor variabele montage
  • Lekdetectie voor bovendeel en watermeteropname

Normen en goedkeuringen

  • Volgens Duits federaal milieuagentschap KTW BWGL
  • Volgens Duits federaal milieuagentschap BWGL metalen
  • geluidsarm volgens NEN/NBN EN ISO 3822 klasse 1
  • Voldoet aan de eisen van GEG (2024)
  • Materiaalklasse van de isolatie B1 volgens DIN 4102
  • CE-markering

Technische gegevens

  • steekmaat 120 mm
  • druktrap PN 16
  • max. bedrijfstemperatuur 60 °C
/media/crossbase/zei_pro_sch_86407_sall_ainfs_v1_lj_404xy.jpg
Bestelnr. DN A1 H1
(mm)
H2
(mm)
L1
(mm)
L2
(mm)
L3
(mm)
L4
(mm)
T1
(mm)
T2
(mm)
kvs
(m³/h)
Gewicht
(kg)
8640502000 20 Rp 3/4 136 73 234 215 120 44 300 150 2,75 2,98

CAD-modellen

Bestelnr. DN CAD-model
8640502000 20 3D-gegevens weergeven