/media/crossbase/fot_pro_per_47608_sall_ainfs_v2_lj_366x382.jpg
/media/crossbase/zei_pro_sch_47608_sall_ainfs_v1_lj_366x382.jpg
/media/crossbase/fot_pro_per_47608_sall_ainfs_v2_lj_366x382.jpg
/media/crossbase/zei_pro_sch_47608_sall_ainfs_v1_lj_366x382.jpg

Außengewinde-Verschraubung aus Rotguss

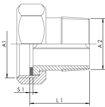
Figur 476 08

  • mediumberührte Metallteile aus entzinkungsfreiem und korrosionsbeständigem Rotguss, beständig gegen aggressives Wasser
  • mit Überwurfmutter für flachdichtendes Anschlussgewinde inkl. EPDM-Dichtung

Produktmerkmale

  • mediumberührte Metallteile aus entzinkungsfreiem und korrosionsbeständigem Rotguss, beständig gegen aggressives Wasser
  • mit Überwurfmutter für flachdichtendes Anschlussgewinde inkl. EPDM-Dichtung

Normen & Zulassungen

  • nach UBA BWGL Metalle
  • DIN EN 1213
  • ÜA-Reg.-Nr. R-15.2.3-21-17048, WIEN-ZERT
Bestellnr. DN A1 A2 L1
(mm)
S1
(mm)
Gewicht
(kg)
4760801500 15 G 3/4 R 1/2 29,5 2 0,08
4760802000 20 G 1 R 3/4 33 2 0,12
4760802500 25 G 1 1/4 R 1 37 2 0,18
4760803200 32 G 1 1/2 R 1 1/4 41 2 0,22
4760804000 40 G 1 3/4 R 1 1/2 42 2 0,31
4760805000 50 G 2 3/8 R 2 53 3 0,54
4760806500 65 G 3 R 2 1/2 63 3 0,86
4760808000 80 G 3 1/2 R 3 68 3 1,29

Downloads

Datenblatt
Dateityp
Produktdatenblatt
pdf
Prospekte
Dateityp
Gebäudetechnik Armaturen und Systeme
pdf (15,76 MB)
Technische Informationen
Dateityp
Ersatzteilhandbuch 2024
pdf (4,88 MB)

Zubehör von