/media/crossbase/fot_pro_per_68604_sall_ainfs_v1_lj_366x382.jpg
/media/crossbase/zei_pro_sch_68604_sall_ainfs_v1_lj_366x382.jpg
/media/crossbase/fot_pro_per_68604_sall_ainfs_v1_lj_366x382.jpg
/media/crossbase/zei_pro_sch_68604_sall_ainfs_v1_lj_366x382.jpg

KHS VAV Vollstrom-Absperrventil mit Stellantrieb 230 V

Figur 686 04

  • elektrische Absperreinrichtung kombinierbar mit Spülsystem
  • äußerst druckverlustarm
  • mediumberührte Metallteile aus Edelstahl und Rotguss

Produktmerkmale

  • elektrische Absperreinrichtung kombinierbar mit Spülsystem
  • äußerst druckverlustarm
  • mediumberührte Metallteile aus Edelstahl und Rotguss
  • Stellantrieb als 2-Punkt-Steuerung mit elektronischer Endlagenerkennung und Motorabschaltung
  • 90° drehbar
  • druckschlagfreier Betrieb
  • einfache Wartung im eingebauten Zustand
  • wartungsfreies Getriebe
  • zur Anbindung in bestehende KHS Mini-Systemsteuerung
  • mit selbstzentrierendem Achsadapter und festem Flansch zur Montage auf das Ventil
  • Außengewinde für flachdichtende Verschraubungen
  • herausnehmbares Innenoberteil TOP-ENTRY, mit EPDM Dichtungskörper und Edelstahl-Schließkörper
  • totraumfrei

Normen & Zulassungen

  • WRAS-Zulassung
  • nach DVGW-Arbeitsblatt W 570
  • nach UBA BWGL Metalle
  • Schallschutzzulassung nach DIN EN ISO 3822 Klasse 1
  • DIN EN 13828
  • ÜA-Reg.-Nr. R-15.2.3-21-17048, WIEN-ZERT

Technische Daten

  • Druckstufe PN 16
  • max. Betriebstemperatur 75 °C
  • max. Umgebungstemperatur 55 °C
  • Schutzart IP54
  • Spannungsversorgung 230 V AC
  • Laufzeit Stellantrieb 30 s
  • Anschlusskabellänge 1,2 m
  • Kabelquerschnitt 3 x 0,75 mm²
  • Leistungsaufnahme während Stellfahrt 2,4 W / 4,5 VA
/media/crossbase/zei_pro_sch_68604_sall_ainfs_v1_lj_404xy.jpg
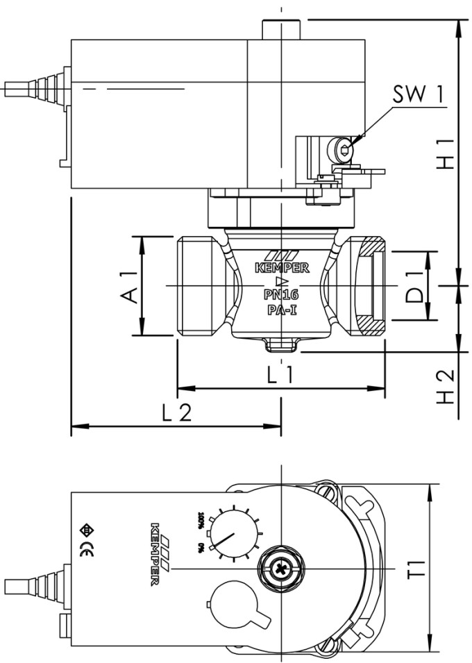
Bestellnr. DN A1 D1
(mm)
H1
(mm)
H2
(mm)
L1
(mm)
L2
(mm)
SW1
(mm)
T1
(mm)
Gewicht
(kg)
6860401500 15 G 3/4 18 110 25 73 89 4 72 1,41
6860402000 20 G 1 22,5 110 25 73 89 4 72 1,47
6860402500 25 G 1 1/4 29 112,5 28 88 89 4 72 1,71
6860403200 32 G 1 1/2 35 115,5 31 93 89 4 72 1,91

CAD Modelle & Kennlinien

Downloads

Datenblatt
Dateityp
Produktdatenblatt
pdf
Anleitung
Dateityp
Einbau- und Bedienungsanleitung KHS VAV Vollstrom-Absperrventil mit Stellantrieb
pdf (1,39 MB)
Prospekte
Dateityp
Gebäudetechnik Armaturen und Systeme
pdf (15,76 MB)
Prospekt Hygienesystem KHS
pdf (3,51 MB)
Prospekt Hygienesystem KHS Planungshilfe
pdf (3,9 MB)
Prospekt Hygienesystem KHS Planer
pdf (2,71 MB)
Prospekt Hygienesystem KHS Betreiber
pdf (0,62 MB)
Technische Informationen
Dateityp
Produktdaten nach VDI 3805, Blatt 17
zip (0,1 MB)
Ersatzteilhandbuch 2024
pdf (4,88 MB)
KHS Verkabelungshinweise
pdf (0,42 MB)
Durchflussdiagramme KHS VAV Vollstrom-Absperrventil mit Stellantrieb
pdf (0,14 MB)