/media/crossbase/fot_pro_per_6280g_sall_ainfs_v1_lj_366x382.jpg
/media/crossbase/zei_pro_sch_6280g_sall_ainfs_v1_lj_366x382.jpg
/media/crossbase/fot_pro_per_6280g_sall_ainfs_v1_lj_366x382.jpg
/media/crossbase/zei_pro_sch_6280g_sall_ainfs_v1_lj_366x382.jpg

KHS Temperaturmessarmatur Pt1000

Figur 628 0G

  • mediumberührte Metallteile aus entzinkungsfreiem und korrosionsbeständigem Rotguss, beständig gegen aggressives Wasser
  • inkl. Messelement Pt1000 4 oder 2-Leiter

Produktmerkmale

  • Gehäuse mit Volldurchgang
  • zum Anschluss an die KHS Systemsteuerungen, die KHS Hygienespülung PRO oder zur Anbindung an die Gebäudeleittechnik GLT für die Spülart Temperatursteuerung
  • Außengewinde für flachdichtende Verschraubungen
  • mediumberührte Metallteile aus entzinkungsfreiem und korrosionsbeständigem Rotguss, beständig gegen aggressives Wasser
  • totraumfrei
  • inkl. Messelement Pt1000 4 oder 2-Leiter

Normen & Zulassungen

  • WRAS-Zulassung
  • nach UBA BWGL Metalle
  • DIN EN 60751
  • ÜA-Reg.-Nr. R-15.2.3-21-17048, WIEN-ZERT

Technische Daten

  • Druckstufe PN 16
  • min. Betriebstemperatur 0 °C
  • max. Betriebstemperatur 105 °C
  • Anschlusskabellänge 1 m
  • Kabelquerschnitt 4 x 0,22 mm²
  • Sensordurchmesser 6 mm
  • Toleranzklasse A
/media/crossbase/zei_pro_sch_6280g_sall_ainfs_v1_lj_404xy.jpg
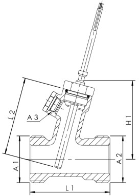
Bestellnr. DN A1 A2 A3 H1
(mm)
L1
(mm)
L2
(mm)
Gewicht
(kg)
6280G01500 15 G 3/4 G 3/4 G 1/4 65 65 60 0,38
6280G02000 20 G 1 G 1 G 1/4 68 67 60 0,43
6280G02500 25 G 1 1/4 G 1 1/4 G 1/4 70,5 72 70 0,59
6280G03200 32 G 1 1/2 G 1 1/2 G 1/4 78 77 80 0,66
6280G04000 40 G 1 3/4 G 1 3/4 G 1/4 79 82 80 0,76
6280G05000 50 G 2 3/8 G 2 3/8 G 1/4 88,5 90 80 1,17

Downloads

Datenblatt
Dateityp
Produktdatenblatt
pdf
Anleitung
Dateityp
Einbau- und Bedienungsanleitung KHS Temperaturmessarmatur Pt1000
pdf (1,06 MB)
Prospekte
Dateityp
Gebäudetechnik Armaturen und Systeme
pdf (15,76 MB)
Prospekt Hygienesystem KHS
pdf (3,51 MB)
Prospekt Hygienesystem KHS Planungshilfe
pdf (3,9 MB)
Prospekt Hygienesystem KHS Planer
pdf (2,71 MB)
Prospekt Hygienesystem KHS Betreiber
pdf (0,62 MB)
Technische Informationen
Dateityp
Produktdaten nach VDI 3805, Blatt 17
zip (0,1 MB)
Ersatzteilhandbuch 2024
pdf (4,88 MB)
KHS Verkabelungshinweise
pdf (0,42 MB)