/media/crossbase/fot_pro_per_1400g_sall_ainfs_v1_lj_366x382.jpg
/media/crossbase/zei_pro_sch_1400g_sall_ainfs_v1_lj_366x382.jpg
/media/crossbase/fot_pro_per_1400g_sall_ainfs_v1_lj_366x382.jpg
/media/crossbase/zei_pro_sch_1400g_sall_ainfs_v1_lj_366x382.jpg

THERM automatisches Zirkulations-Regulierventil, 30 °C bis 50 °C, AG

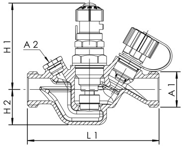
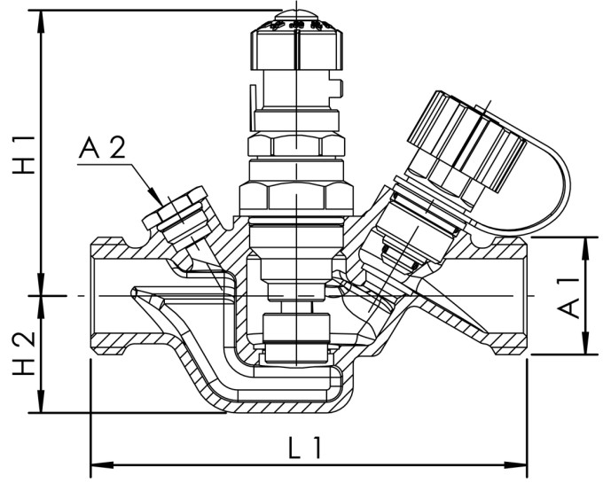
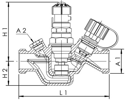
Figur 140 0G

  • automatisches Regulierventil für den hydraulischen Abgleich von Steig- und Stockwerksverteilleitungen
  • zum thermischen selbstregelnden, hydraulischen Abgleich, mit automatischer Regelbereichsumstellung für die thermische Desinfektion
  • mediumberührte Metallteile aus entzinkungsfreiem und korrosionsbeständigem Rotguss, beständig gegen aggressives Wasser
  • Absperreinheit mit Thermometer- und Fühleraufnahme

Produktmerkmale

  • automatisches Regulierventil für den hydraulischen Abgleich von Steig- und Stockwerksverteilleitungen
  • zum thermischen selbstregelnden, hydraulischen Abgleich, mit automatischer Regelbereichsumstellung für die thermische Desinfektion
  • mediumberührte Metallteile aus entzinkungsfreiem und korrosionsbeständigem Rotguss, beständig gegen aggressives Wasser
  • Absperreinheit mit Thermometer- und Fühleraufnahme
  • PTFE-Sitzdichtung
  • thermostatische Reguliereinheit
  • Außengewinde für flachdichtende Verschraubungen
  • mit Entleerstopfen
  • totraumfrei
  • mit Absperr-, Regulier- und Voreinstellfunktion
  • keine DVGW-Zulassung, da abweichend von DVGW-Arbeitsblatt W 551

Normen & Zulassungen

  • nach UBA KTW BWGL
  • nach UBA BWGL Metalle
  • ÜA-Reg.-Nr. R-15.2.3-21-17048, WIEN-ZERT

Technische Daten

  • Regelbereich 30 °C - 50 °C
  • Druckstufe PN 16
  • max. Betriebstemperatur 90 °C
/media/crossbase/zei_pro_sch_1400g_sall_ainfs_v1_lj_404xy.jpg
Bestellnr. DN A1 A2 H1
(mm)
H2
(mm)
L1
(mm)
kvs
(m³/h)
Gewicht
(kg)
1400G01500 15 G 3/4 G 1/4 85 28 110 1,43 0,69
1400G02000 20 G 1 G 1/4 85 33 123 1,90 0,88
1400G02500 25 G 1 1/4 G 1/4 96 34 133 2,93 1,14

Downloads

Datenblatt
Dateityp
Produktdatenblatt
pdf
Anleitung
Dateityp
Einbau- und Bedienungsanleitung THERM
pdf (1,71 MB)
Prospekte
Dateityp
Gebäudetechnik Armaturen und Systeme
pdf (15,76 MB)
Prospekt Regulierarmaturen
pdf (1,93 MB)
Technische Informationen
Dateityp
Durchflussdiagramme THERM automatisches Zirkulations-Regulierventil
pdf (1,86 MB)
Ersatzteilhandbuch 2024
pdf (4,88 MB)